Кран двухклапанный SIMACO БНГ.183.00.00РЭ
Кран двухклапанный (в дальнейшем кран см. рис. 1 и 2) служит для изменения направления воздуха в пневматических приводах и системах управления.
Изделие предназначено для эксплуатации под навесом или в помещениях, где колебания температуры и влажности воздуха не существенно отличаются от колебаний на открытом воздухе и имеется сравнительно свободный доступ наружного воздуха, например, в металлических помещениях без теплоизоляции.
Номинальные значения климатических внешних воздействующих факторов по ГОСТ 15150-80 для климатического исполнения УХЛ2:
- относительная влажность воздуха:
при 15°С - 80%
при 25°С - 100%
- температура:
минимальная -40°С
максимальная +40°С
Технические характеристики
| Условный проход Ду, мм | 15 |
| Рабочее давление сжатого воздуха, МПа (кгс/см2) | 0,8 (8) |
| Вес, кг, не более | |
Чертежи


Детальное описание и принцип работы
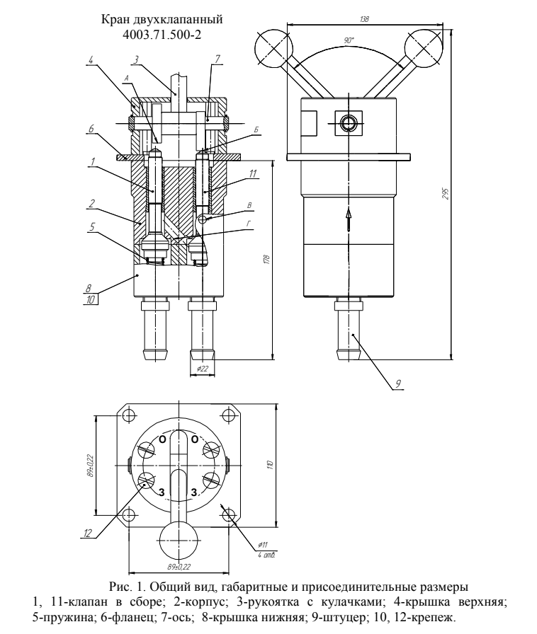
В корпус 2 (см. рис. 1) вставлены два клапана в сборе 1, 11, которые поджаты пружинами 5 . Снизу к корпусу 2 винтами 10 крепится крышка нижняя 8. Сверху на корпус 2 винтами 12 крепится крышка верхняя 4 с установленной на ось 7 рукояткой 3 переключения каналов с жестко закрепленными на ней кулачками. Оси кулачков развернуты друг относительно друга на 90°.
В стенках корпуса 2 выполнены два отверстия «В», соединяющие полости над клапанами 1 с атмосферой.
Для обеспечения правильного присоединения крана в пневматическую систему на корпусе 2 со стороны подводного штуцера (отверстия) выбита стрелка, показывающая направление движения сжатого воздуха.
Положения рукоятки 3 обозначены на верхней крышке 4 буквами «О» (открыто) и «З» (закрыто).
Клапан в сборе 1, 11 (см. рис.3) состоит из штока 3 с завальцованным шариком 4, уплотнителя 2 и хвостовика 1.

Рукоятка 3 (см. рис. 1) показана в положении «закрыто». При этом клапан 1 закрыт от воздействия пружины 5 и давления сжатого воздуха, подведенного из магистрали, а клапан 11 открыт кулачком «Б» рукоятки 3 и воздух через отверстие «В» выбрасывается в атмосферу. При установке рукоятки 3 в положение «открыто» кулачком «А» рукоятки 3 открывается клапан 1.
Кулачок «Б» выходит из контакта с клапаном 11 и клапан закрывается под действием пружины 5 и давления сжатого воздуха. При этом воздух из магистрали через открытый клапан 1 по каналу «Г» поступает под закрытый
клапан 11 на выход к исполнительному механизму.
Производитель
Simaco
